国务院有关部门办公厅(办公室、综合司),各有关全国专业标准化技术委员会:
为贯彻《标准化法》和《国家标准管理办法》有关要求,推进国家标准复审常态化和制度化,国家标准化管理委员会(以下称国家标准委)决定组织开展2024年推荐性国家标准复审工作。现将有关事项通知如下:
一、复审要求
(一)统筹计划安排。国家标准委按年度对复审工作进行统筹安排和统一部署,确定纳入复审的标准项目,明确复审要求,有计划地组织开展复审。
(二)强化过程公开。标准归口单位要广泛征集和听取各相关方意见,提高复审工作的透明度。复审结论由国家标准委通过全国标准信息公共服务平台面向社会公开征求意见。
(三)加强审查把关。全国专业标准化技术委员会(以下简称技术委员会)归口标准的复审结论,应按规定经全体委员审查并投票表决通过。不属于技术委员会归口标准的复审结论,应组成专家组进行审查。行业主管部门对技术委员会报送的复审结论进行审核,确认无误的报送国家标准委。国家标准委委托国家标准技术审评中心对复审材料和复审意见进行复核和评估,存在疑问的提出复核建议。
(四)增强机制协同。加强复审工作与标准实施信息反馈、效果评价等工作的衔接,将实施反馈信息、实施效果评价报告等信息,以及标准验证情况作为复审工作的重要依据。加强复审工作程序与信息化系统衔接,国家标准委根据复审常态化工作需求,优化了国家标准制修订工作管理信息平台(以下称制修订系统)复审功能,行业主管部门和技术委员会要注重复审工作程序与信息化系统同步开展,确保复审工作有序进行。
(五)实行闭环管理。复审结论与下达修订计划相结合,复审结论为修订的,归口单位应同步申报修订计划项目,确保国家标准复审与修订紧密衔接。
(六)强化工作考核。各归口技术委员会复审工作完成情况,将作为重要内容纳入年度技术委员会考核评价指标体系中进行考核并施行一票否决。对未按时上报当年计划复审项目和复审材料的技术委员会,将暂停其国家标准立项申报。
二、复审内容
为提高推荐性国家标准复审质量,确保复审结论科学合理,重点就以下六个方面内容开展审查和评估。
(一)标准的适用性。标准内容是否符合推荐性国家标准适用范围,不符合推荐性国家标准范围,或适用范围不够具体明确的,应给出“修订”或“废止”的结论。标准涉及的产品、过程或服务若已被淘汰,即将被淘汰或不符合产业技术发展方向,应给出“废止”的结论。
(二)标准的规范性。标准技术内容是否可验证、可操作,若技术内容存在不可验证、不可操作的情况,或者标准中未规定证实方法或试验方法,应给出“修订”的结论。
(三)标准的时效性。采用的国际标准是否已更新,若采用的国际标准已更新且适用于我国,应给出“修订”的结论。标准的规范性引用文件是否现行有效,若引用的标准已废止或已更新,应给出“修订”的结论。
(四)标准的协调性。标准技术内容若与其他标准存在重复、不协调的情况,应给出“修订”或“废止”的结论。标准若与现行相关法律法规、部门规章、国家产业政策或其他标准存在不协调、不一致的情况,应给出“修订”或“废止”的结论。
(五)标准实施效果。分析标准实施应用情况,包括:标准是否被法律法规、部门规章、国家产业政策引用,标准是否被强制性标准引用,标准是否被其他推荐性标准引用三个方面。分析标准实施的经济效益、社会效益、生态效益等方面情况,如标准实施效果不佳或存在负面效益,应给出“修订”或“废止”的结论。
(六)其他相关要求。涉及人民群众生命财产安全,需要转化为强制性国家标准的,可以提出“修订”的结论,并按照《强制性国家标准管理办法》有关规定,提出强制性国家标准立项申请。2022、2023年未完成的复审项目,已导入制修订系统相应环节,请各方继续完成标准复审工作。
三、复审工作安排
(一)复审范围。
2024年复审项目见附件1。为满足国家经济、社会发展需要和国家标准体系优化需求,急需开展复审的其他推荐性国家标准,标准归口单位可以按此通知要求组织开展复审,一并上报。
(二)复审程序。
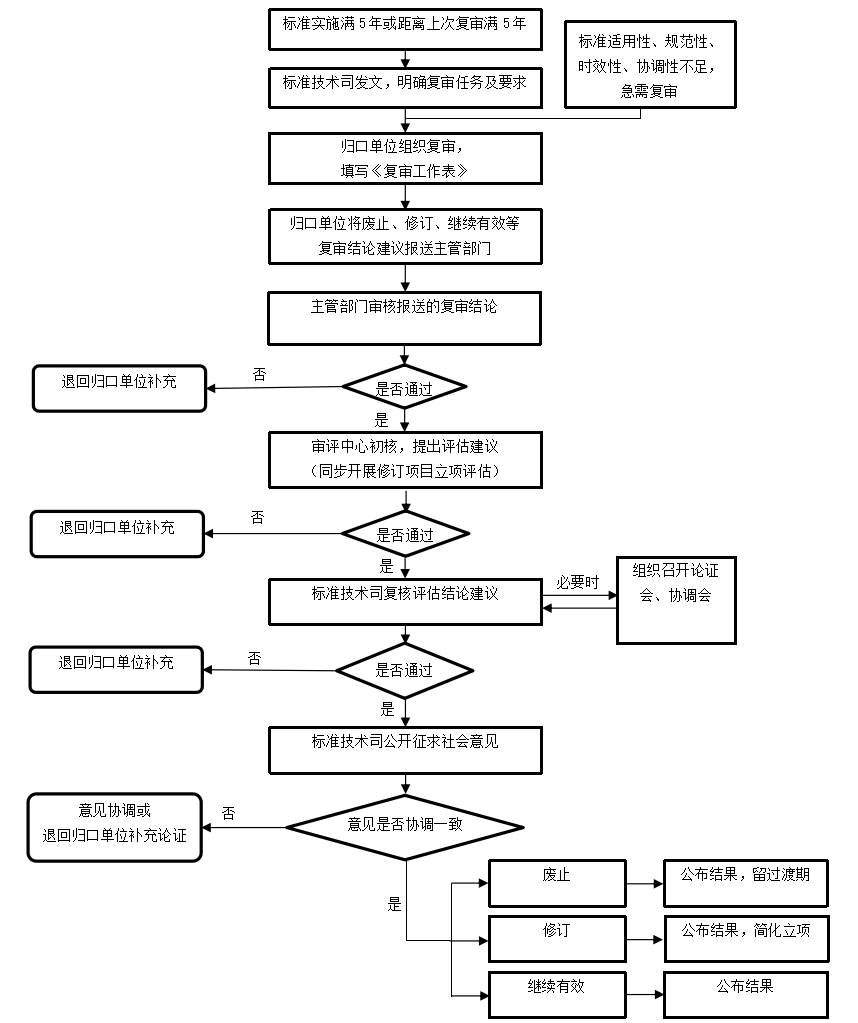
一是逐项标准开展复审。标准归口单位对照《推荐性国家标准复审工作表》(附件2),组织相关专家逐项开展相关标准评估和审查,必要时征求各相关方意见和开展标准验证。同时,在制修订系统中填写《推荐性国家标准复审工作表》,提出标准复审结论建议。
二是提交全体委员审查。由技术委员会归口的标准,应组织技术委员会全体委员对复审结论建议进行审查并投票。参加投票的委员不得少于总数的四分之三。参加投票委员三分之二以上赞成,且反对意见不超过参加投票委员的四分之一,方为通过。不属于技术委员会归口的标准,归口单位应组成专家组对复审结论进行审查。
三是形成结论并报行业主管部门审核。技术委员会于2025年1月31日前将全体委员投票同意的复审结论建议和复审工作情况报告,通过制修订系统报送行业主管部门审核。复审结论建议为“修订”的项目应同步开展标准修订计划申报。已经过复审结论建议投票的项目无须再进行修订申报的电子投票。
四是主管部门审核。将由国家标准委书面征求行业主管部门意见,调整为由归口单位直接将复审结论报送行业主管部门,由行业主管部门对复审结论进行审核后形成复审意见函,通过制修订系统报送国家标准委。
五是复核和公布。国家标准委委托国家标准技术审评中心对复审结论进行复核。国家标准委对复审结论为“废止”“修订”的项目公开征求社会意见,无重大分歧意见或经协调一致后,复审结论“废止”的项目以国家标准公告形式公开发布,复审结论“修订”的项目直接下达修订计划,复审结论“继续有效”的项目在全国标准信息公共服务平台及制修订系统标注“继续有效”信息,再次出版时在封面注明复审继续有效的信息。
联系人:程瑾瑞、申景丽
电话:88651006、82262599
附件:
1. 国家标准复审清单(详细清单见制修订系统)
2. 推荐性国家标准复审工作表
3. 常态化复审工作流程图
国家标准化管理委员会
2024年10月8日
附件1:
国家标准复审清单
序号 | 主管部门 | 复审数量 |
1 | 国家标准委 | 1988 |
2 | 中国机械工业联合会 | 1206 |
3 | 中国轻工业联合会 | 520 |
4 | 中国石油和化学工业联合会 | 444 |
5 | 中国有色金属工业协会 | 381 |
6 | 工业和信息化部(电子) | 282 |
7 | 中国建筑材料联合会 | 271 |
8 | 农业农村部 | 216 |
9 | 市场监管总局 | 142 |
10 | 中国电力企业联合会 | 127 |
11 | 自然资源部(国土) | 118 |
12 | 国家粮食和储备局 | 116 |
13 | 国家林草局 | 103 |
14 | 中国电器工业协会 | 88 |
15 | 工业和信息化部 | 86 |
16 | 中国纺织工业联合会 | 82 |
17 | 中国科学院 | 78 |
18 | 住房城乡建设部 | 70 |
19 | 民政部 | 69 |
20 | 商务部 | 55 |
21 | 中国钢铁工业协会 | 51 |
22 | 国家消防救援局 | 50 |
23 | 国家卫生健康委 | 47 |
24 | 中国气象局 | 41 |
25 | 应急管理部 | 36 |
26 | 公安部 | 30 |
27 | 自然资源部(测绘地理) | 30 |
28 | 文化和旅游部(文化) | 29 |
29 | 国家疾控局 | 25 |
30 | 国家新闻出版署(国家版权局) | 25 |
31 | 水利部 | 23 |
32 | 中国商业联合会 | 22 |
33 | 国家中医药局 | 21 |
34 | 国家发展改革委 | 19 |
35 | 国家药监局 | 18 |
36 | 人力资源社会保障部(劳动) | 17 |
37 | 中国煤炭工业协会 | 16 |
38 | 国家文物局 | 15 |
39 | 国家知识产权局 | 15 |
40 | 交通运输部 | 15 |
41 | 科技部 | 15 |
42 | 自然资源部(海洋) | 15 |
43 | 中国民航局 | 14 |
44 | 国家烟草局 | 13 |
45 | 中国兵器工业集团公司 | 13 |
46 | 工业和信息化部(通信) | 12 |
47 | 司法部 | 11 |
48 | 国家铁路局 | 9 |
49 | 中华全国供销合作总社 | 9 |
50 | 审计署 | 8 |
51 | 国家密码局 | 6 |
52 | 中国地震局 | 6 |
53 | 财政部 | 4 |
54 | 教育部(语言) | 4 |
55 | 中央军委装备发展部 | 4 |
56 | 体育总局 | 3 |
57 | 国家邮政局 | 2 |
58 | 中国船舶重工集团公司 | 2 |
59 | 中国人民银行 | 2 |
60 | 国家电影局 | 1 |
61 | 国务院办公厅 | 1 |
62 | 教育部(基础) | 1 |
合计 | 7142 | |
附件2:
推荐性国家标准复审工作表
标准编号 | 标准名称 | |||
归口单位 | 主管部门 | |||
复审内容 | 结果判定 | |||
标准的 适用性 | 1.标准是否属于满足基础通用、与强制性国家标准配套、对各有关行业起引领作用,并在全国适用的标准? | £基础通用 £与强标配套 £起引领作用 £否 | ||
2.标准涉及的产品、过程或服务是否已被淘汰? | £是£否 | |||
3.标准的适用范围是否能够覆盖新产品、新工艺、新技术或新服务? | £是£否 | |||
4.标准的技术要求与当前市场或产业技术发展的平均水平相比情况 | £高于平均 £齐平平均 £低于平均 | |||
标准的 规范性 | 5.标准技术内容是否可验证、可操作? | £是£否 £不适用于本标准 | ||
标准的 时效性 | 6.采标标准所采用的国际标准是否是最新标准? | £是£否 £没有采标 | ||
7.标准的规范性引用文件是否修订或废止? | £是£否 | |||
标准的 协调性 | 8.标准相关技术内容是否与其他标准重复? | £是£否 | ||
9.标准相关技术内容是否与其他标准矛盾或不协调不配套? | £是£否 | |||
10.标准与现行相关法律法规、部门规章、国家产业政策是否协调? | £是£否 | |||
标准实 施效果 | 11.标准是否被法律法规、部门规章、国家产业政策引用? | £是£否 | ||
12.标准是否被强制性标准引用? | £是£否 | |||
13.标准是否被其他推荐性标准引用? | £1项标准引用 £2-5项标准引用 £5项以上标准引用 £没有被引用 | |||
14.标准实施的经济效益 | £突出£良好 £一般£负面 | |||
15.标准实施的社会效益 | £突出£良好 £一般£负面 | |||
16.标准实施的生态效益 | £突出£良好 £一般£负面 | |||
其他 情况 | (可文字描述)
| |||
复审 意见 | £继续有效£修订£废止 废止理由: 如废止,标准废止过渡期: £公告即废止 £公告后__个月废止 £于__年__月__日废止 | |||
附件3:
常态化复审工作流程图



领取企业服务码
服务热线 :400-0911-079